Southeast Tool
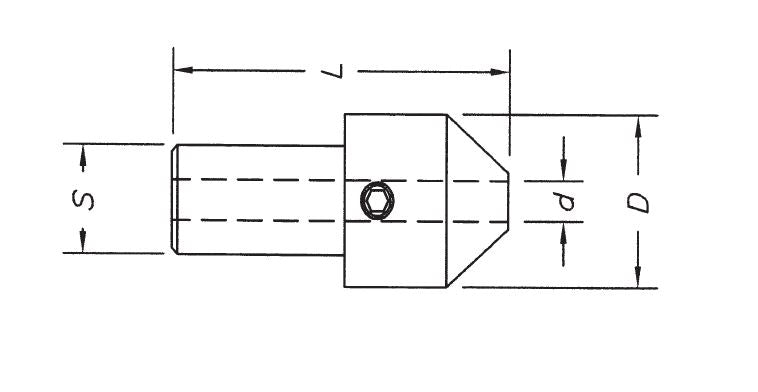
4.5MM DRILL ADA X 15MM DIA-35MM Len
4.5MM DRILL ADA X 15MM DIA-35MM Len
SKU: DA35045
Regular price
$9.70
Regular price
$12.95
Sale price
$9.70
Unit price
per
Couldn't load pickup availability
